|
|
|
|
||||||||||||||||||||
|
|
|
|
||||||||||||||||||||
|
Текущее время: 30.10.25, 5:54 электрохимическая заточкаМодераторы: Олег Бритва, Модераторы электрохимическая заточкаУВ.форумчене,кто сталкивался с электрохимической заточкой -подскажите.....можно ли ей точить бритвы и как это делть..есть ли какой-нибудь ущерб клинку и как она скажеться в дальнейшем?
Вобщем ваше мнение о ней......
Re: электрохимическая заточкаВряд ли такое возможно...
Ремонт опасных бритв, звонить с 11-00 до 23-00, +79267729357, (whats app, telegram, VK), спросить Олега.
YOUTUBE Олег Бритва INSTAGRAM Олег Бритва
Re: электрохимическая заточкаЧуйка говорит, что это косяково для бритв - не могу понять почему??? http://www.e-polirovka.ru/7.html" onclick="window.open(this.href);return false;
Электрохимическое полирование представляет собой анодную обработку металла для создания ровной и блестящей поверхности. Изделие, имеющее микро- и макронеровности, является анодом электролизера. Катодом служит металл, химически не растворимый в растворе электролита. В качестве растворов электролитов используют растворы фосфорной, хромовой, серной, уксусной, плавиковой кислот и др. В процессе электрополировки происходит анодное растворение металла на макро- и микровыступах, в результате чего поверхность становится гладкой и блестящей. На катоде выделяется водород. Механизм электрополировки окончательно не выяснен. Эффект электрополирования обычно связывается с действием вязкой пленки, образующейся в прианодном слое, затрудняющем растворение металла в углублениях по сравнению с растворением на выступах, а также поочередным пассивированием и активированием металла. По сравнению с механической полировкой электрополировка менее трудоемка, лучше поддается автоматизации, позволяет обрабатывать металлы, которые трудно полировать механически. Кроме того, при электрополировке не происходит искажения структуры металла. Электрополировка широко используется для изучения структуры металлов и сплавов, а также в промышленности для обработки нержавеющей и углеродистой сталей, никеля, алюминия, меди и ее сплавов.
Последний раз редактировалось Archimedes 21.02.10, 11:38, всего редактировалось 1 раз.
Re: электрохимическая заточкаНе понял, ты точить собрался или полировать. Если полировать то сначала ручками и наждаком уже обсуждалось, причем здесь в простонародье "гальваника" и как с ее помощью что-либо заточить, это вопрос без ответа, по сути самого вопроса
Re: электрохимическая заточкаЕсли на проработку вопроса нет желания - лучше наверное спросить кого сведущего, например Иван 3 http://www.chipmaker.ru/index.php?showt ... ntry219098" onclick="window.open(this.href);return false;
А, понять каким боком соприкасаются в гальванике электрохимическая заточка и электрохимическая полировка можно по поиску в гугле. Re: электрохимическая заточкаВсе равно, что изобретать велосипед, все давно раскатано, разобрано и складировано, есть желание городить огород, пробуй, пойду бриться
Re: электрохимическая заточкаЭлетрохимполировка имеет место быть. Она не так сложна по сути. Но она как правило вредна
Она применяется редко так как дает результат не правильный. Геометрию ей все равно не сформируешь, а значит 99 процентов съема метала происходит шлифовкой и значит еодин станок для финиша с мелкозернистым камнем просто не изменит технологию никак. И химполировка дает результат блестящий но не качественный - т.е. то что называется селедочный блеск. Еще одна проблема применения химполировки некачественный металл бритв. Какк правило все химические реакии начинаются на границе зерен металлов, на границах включений и прочих дефектов. Так вот качественный металл редкость большая а на некачественном как ржавление так и восстановление будет идти пятнами (пятна ржавины все замечали?) Еще одна проблема то что для каждой марки металла нужно свое значение тока/мощности на еденицу площади - так называемая плотность тока. При неправильных значениях опять все идет пятнами. Т.е. для технолгии проихводства м.б. и можно было бы подобрать ныжные технологии а для реставрации очень сомнительна разумность... Не те объемы, не те прибыли и т.д. Да и дома с такой химией играться неразумно (пары кипящей кислты не чоень полезны для здоровья
Re: электрохимическая заточкаНет. Электрохимическая (и химическая) полировка - процесс противоположный заточке: чем острее выступ (чем меньше радиус) - тем быстрее растворяется. Цинизм - это способ спокойно принимать жизнь такой, какая она есть.
Re: электрохимическая заточкаГде то читал про способ заточки иголок для микрогравировальных работ, тоже в кислоту кидают иголочку и гальванируют, "врут", что с максимально возможной толщины острия в тсячи и сотни атомов, при физ. обработки, толщина острия сокращается до 100-10 атомов.
Re: электрохимическая заточкаА кто нибудь пробовал?Я знаю как люди практически делали брелки.Раньше в больницах использовали аппарат по заточке скальпелей электрохимическим способом.Суть я надеюсь понятна.Частицы одного материала ,осаждаются на поверхности другого.Брелки изготавливали примерно так.Брали графитную муку,не знаю правда насколько мелкую и обсыпали насекомое которое предварительно мокнули то ли в лак то ли в какой то другой состав (подробностей не знаю),дальше погружали в хим состав соответствующий и путем электрохимического метода,"напыляли" слой нужного материала,хоть золото.Некоторые умельцы делали так,при низком напряжении по моему ,напыляли такой слой,что были видны ворсинки насекомого,покрытые нужным составом,при очень близком увеличении.Электрохимический способ это спорный вопрос,я не утверждаю что он достоин внимания,но и никто не пробовал.Я знаю что там можно напылить так (умеючи конечно),что тупая бритва может стать очень острой.Конечно скальпель не бритва,но никто и не пробовал. Кесарю кесарево , а слесарю слесарево.
Re: электрохимическая заточкаПо идее должно выйти великолепно, как не достигнуть никакими камнями по 1000 000 грит. Повесив катод на бритву и опустив в кислоту, с неё будет равномерно по всей поверхности отрываться атомы. У кого есть возможность гальваники - попробуйте.
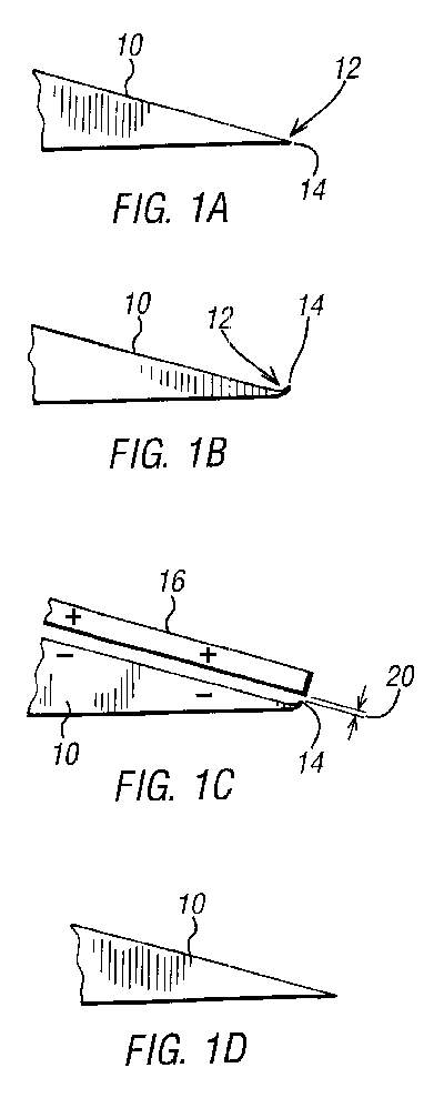
Re: электрохимическая заточкаДля растворения - на анод. -- Ниже - рисунок из Pat. US 6,488,834 (По сути - вариация на тему электроэрозионного метода.) Ключевой момент - очень малое расстояние между катодом и обрабатываемой поверхностью (анодом). "..., positioning a blade adjacent to cathodic plate such that the gap between the cathodic plate and a blade is very small relative to the size of the blade; ..." В данном случае быстрее стравливаются участки более близкие к катоду. Т.е. достигается выравнивание расстояния между электродами. При этом требуется также и параллельность режущей кромки и края электрода. -- В другом патенте (US 4,710,279 ) пишут, что скорость растворения выше на режущей кромке, в результате чего получается её скругление. "Maintaining of the initially established cutting edge within certain types of tools is important in order to achieve maximum cutting efficiency during usage. Frequently, during manual or mechanical resharpening, the initially established geometry of the cutting edge is altered. Within the present invention, the initially established geometry is maintained." Правда, дальше там утверждают, что подбор состава электролита и напряжения между электродами позволяет выровнять скорости травления... Но ведь и в этом случае радиус скругления кромки будет не меньше, чем будет стравлено с плоскостей? Цинизм - это способ спокойно принимать жизнь такой, какая она есть.
электрохимическая заточкаДанный способ электро химической правки бритв давно разработан и применялся в парикмахерских. Подробно описан в учебниках мастеров мужского зала. Система не сложная . Правка занимает от одной до 8 секунд.
электрохимическая заточкаBigMazi, посмотри дату сообщения, на которое отвечаешь. Это называется некропост
С нами Бог и два парашюта!
Кто сейчас на конференцииСейчас этот форум просматривают: нет зарегистрированных пользователей и 5 гостей | |
|
|
|
|
||||||||||||||||||||||||||||||||||||
